DOLAR
42,57 -0,01%
EURO
49,64 -0,05%
ALTIN
5.765,05 -0,08%
BITCOIN
3.908.774,67 -0,05%

iPhone'lar için flaş iddia: Patent almaya hazırlanıyor

Apple'ın iPhone için MacBook'un Touch Bar özelliğine benzeyen bir teknolojiyle ilgili patent aldığı bilgisi paylaşıldı.

Yayın Tarihi: 16.03.2024 14:03
Güncelleme Tarihi: 16.03.2024 14:03

iPhone'lar için flaş iddia: Patent almaya hazırlanıyor

Apple uzun süredir iPhone'dan bu yana yeni modellerinde büyük yenilikler yapmadığı için tüketiciler tarafından eleştiriliyordu. Ancak son gelişmeler Apple'ın ciddi bir yeniliğin üzerinde çalıştığını gösteriyor. Yani şirketin önümüzdeki birkaç yıl içinde piyasaya süreceği yeni iPhone'ların ikinci bir ekrana sahip olması mümkün. Detaylar burada..

Apple, iPhone Touch Bar'ın patentini aldı!

Apple'ın 2020'de piyasaya sürmüş olduğu 13 inç MacBook Pro modeli, Touch Bar özelliğiyle teknoloji dünyasında dikkatleri üzerine çekmişti. Bu özellik gerçekte ikinci dokunmatik ekran görevini gören, kullanılan uygulamaya bağlı olarak dinamik olarak değişen kısayollara ve kontrollere erişim sağlayan bir asistandır.

Apple, iPhone Touch Bar'ın patentini aldı

Bu özellik, kullanıcı deneyimini büyük ölçüde geliştiren yenilikçi bir özellik olarak değerlendirildi. Ancak Apple, 2021 yılında piyasaya sürmüş olduğu yeni işlemcileriyle büyük ses getiren 14 inç/16 inç MacBook Pro modelleriyle Touch Bar özelliğine veda etmek zorunda kaldı. Bu değişiklik Touch Bar'ın geleceğini belirsiz bırakıyor. Ancak son gelişmeler, Apple'ın kullanıcıların çok sevdiği bu özelliği ise iPhone serisine entegre etme durumuna hazırlandığını gösteriyor.

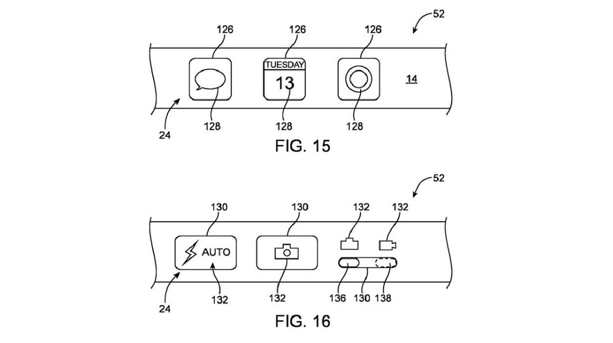
AppleInsider'ın edindiği bilgiye göre Apple, iPhone'un yana monteli ekran teknolojisi için patent aldı. Çizimlere bakıldığında daha önce bahsettiğimiz Touch Bar fonksiyonuna benzer yeniliklerin yolda olduğu söylenebilir.

Apple, iPhone Touch Bar'ın patentini aldı

Bu ikinci ekran yan tarafa yerleştirilmiştir ve kullanıcının mevcut bilgilere göre ses seviyesini artırmasına veya azaltmasına olanak tanır. Dolayısıyla geleneksel yan tuşların işlevselliği dokunmatik ekrana aktarılıyor. Ancak bu ikinci ekran aynı zamanda Apple'ın Dynamic Island özelliğine benzeyen şekilde kullanıcılara mesaj görüntüleme, müzik değiştirme, uygulamaları hızla başlatma şeklinde farklı seçenekler de sunuyor.

Apple'ın bu patenti takip edip önümüzdeki yıllarda iPhone'lara ikinci bir ekran ekleyip yerleştirmeyeceği şu anda belli değil. Şu anda geliştirme aşamasında olan fikrin tamamen durdurulabileceğini de belirtmekte fayda var. ABD'li teknoloji devinin birçok patenti var ancak bunların hepsi ürünlerinde uygulanmıyor.